集团动态
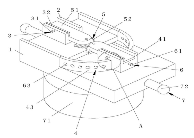
一种钢结构焊接用支撑结构

钢结构是由钢制材料组成的结构,是主要的建筑结构类型之一,钢结构广泛应用于大型厂房、场馆、超高层等领域。钢结构的连接方式多为焊接,在实际的使用过程中,需要对角焊接,现有的支撑装置多为简单夹持机构,焊接过程比较繁琐,在焊接时可能出现角度偏移,焊接位置不准确的问题。
该实用新型专利提供了一种钢结构焊接用支撑结构,具备焊接角度可调的优点,该专利通过夹持机构的设置,将两个钢结构夹持固定,随后通过滑动机构旋转其中一个钢结构调整角度,最终进行焊接,即达到调节焊接角度的目的,解决了角度偏移、焊接位置不准确的问题。
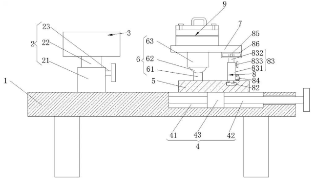
一种钢结构焊接工作平台

目前钢结构的焊接大多都是将钢结构固定,然后手持另一端钢结构对准进行点焊,然而此焊接方式虽能达到焊接的目的,但稳定性难以保证,甚至会出现较大的焊接误差,给使用者带来不便。
该实用新型专利提供了一种钢结构焊接工作平台,具有焊接便捷的优点。该平台由伸缩调节机构、平移调节机构、活动板、万向转轴、调节板等装置组成。焊接过程中无需手持钢结构焊接,焊接的精准度得以保证,解决了焊接稳定性的问题。
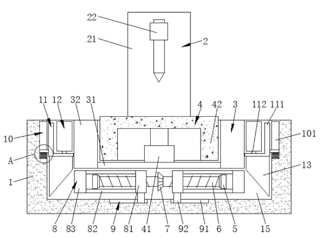
一种钢结构焊接冷却设备

焊接,也被称作熔接、镕接,是一种以加热、高温或者高压的方式接合金属或其他热塑性材料的制造工艺及技术,在焊接过程中,钢结构的表面会产生大量的热量,一般的钢结构焊接机不具备降温功能,需要将其放置在一旁进行自然冷却,再进行使用。该方法导致钢结构冷却所需时间长,降低了工作的效率。
该实用新型专利提供了一种钢结构焊接冷却设备,该冷却设备由冷却机构、缓冲机构、移动机构等装置组成。通过开启马达,对载物台顶部焊接完毕后的钢结构进行风冷冷却,加速了冷却的效率,不需要冷却时,转动把手即可将冷却机构向下移动进行隐藏,达到了方便使用的目的。
一方面该装置通过风冷冷却对钢结构的表面进行降温,加快了冷却的时间,提高了工作效率。另一方面,在不使用时,冷却机构可以进行隐藏,避免冷却机构被火花溅到导致损坏,延长了该设备的使用寿命。